Skip to content Skip to sidebar Skip to footer

2006 Chevy Aveo Cooling System Diagram

2004 2010 Chevrolet Heater Hose 95211454 Gm Parts Online

2004 2010 Chevrolet Heater Hose 95211454 Gm Parts Online

2006 chevy aveo cooling system diagram. Chevrolet Aveo is a popular car that officially belongs to class B. 2007 chevy aveo engine cooling system wiring diagram. In detail the device of the car Chevrolet Aveo is considered recommendations on operation and repair are given.

The most recently reported issues are listed below. CHEVROLET Car Manuals PDF. However according to its technical characteristics and safety requirements the Aveo boldly stepped into class C which bribes its future owners.

Fuse box diagram location and assignment of electrical fuses and relays for Chevrolet Chevy Aveo 2007 2008 2009 2010 2011. Also please check out the statistics and reliability analysis of Chevrolet Aveo based on all problems reported for the Aveo. Watch this free video to see how to fix minor coolant antifreeze leaks in a 2006 Chevrolet Aveo LS 16L 4 Cyl.

Posted by Anonymous on Jan 12 2013. Radiator Assembly Without high capacity. Chevrolet aveo wiring diagrams car no headlights can find a anti theft lt 2008 instrument cer 2005 power and ground distribution air conditioning engine performance radio 2007 system service manual2011 starter connections stereo audio pdf manual wire diagram for chevy repair work.

Chevrolet Aveo 2002 2011 Head Unit Pinout Diagram Pinoutguide Com. 2006 Chevrolet Aveo Special Value 16L L4 - Gas Catalog. Refinements Enhance Value and Safety.

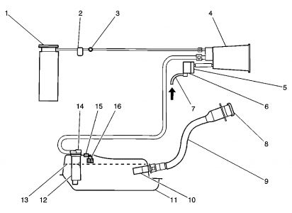
The petrol engine of 16 l. We use a box and the word CAUTION to tell about things that could hurt you if you were to ignore the warning. But you can check the fuses for the cooling fans and also the relays i am attaching a wiring diagram for the cooling fans as this will help you in checking the fans.

Sedan How-to video for petcock radiator flush and burping on a 2006 Chevrolet Aveo LS 16L 4 Cyl. Made to meet or exceed OE specifications theyre designed to provide superior heat transfer and cooling efficiency.

Chevrolet Gm Oem 04 08 Aveo Cooling System By Pass Hose 96180071 Ebay

Chevrolet Gm Oem 04 08 Aveo Cooling System By Pass Hose 96180071 Ebay

2008 Aveo5 Hatckback Coolant Hose Leak Chevrolet Aveo Forum And Owners Club Aveoforum Com

2008 Aveo5 Hatckback Coolant Hose Leak Chevrolet Aveo Forum And Owners Club Aveoforum Com

Radiator Components For 2007 Chevrolet Aveo Gm Parts Online

Radiator Components For 2007 Chevrolet Aveo Gm Parts Online

Cooling System For 2004 Chevrolet Aveo Gm Parts Online

Cooling System For 2004 Chevrolet Aveo Gm Parts Online

Chevrolet Gm Oem 09 11 Aveo5 1 6l L4 Radiator Overflow Hose 95990102 Ebay

Chevrolet Gm Oem 09 11 Aveo5 1 6l L4 Radiator Overflow Hose 95990102 Ebay

Radiator Components For 2009 Chevrolet Aveo Gm Parts Online

Radiator Components For 2009 Chevrolet Aveo Gm Parts Online

Radiator Components For 2010 Chevrolet Aveo5 Gmpartsnow

Radiator Components For 2010 Chevrolet Aveo5 Gmpartsnow

Leak At Firewall Chevrolet Aveo Forum And Owners Club Aveoforum Com

Leak At Firewall Chevrolet Aveo Forum And Owners Club Aveoforum Com

Chevy Aveo 2005 Leak At Engine To Heater Hose Needs Replacing Cant Reach Backside Chevrolet Aveo Forum And Owners Club Aveoforum Com

Chevy Aveo 2005 Leak At Engine To Heater Hose Needs Replacing Cant Reach Backside Chevrolet Aveo Forum And Owners Club Aveoforum Com

Thermostat Replacement Chevy Aveo Youtube

Thermostat Replacement Chevy Aveo Youtube

Car Truck Cooling Systems Chevrolet Gm Oem 04 06 Aveo 1 6l L4 Radiator Assembly Bracket Right 96536645 Car Truck Radiators Parts

Car Truck Cooling Systems Chevrolet Gm Oem 04 06 Aveo 1 6l L4 Radiator Assembly Bracket Right 96536645 Car Truck Radiators Parts

Coolant Temperature Sensor Location Is The Sensor On The

Coolant Temperature Sensor Location Is The Sensor On The

Transaxle Oil Cooler Supply And Return Lines Chevrolet Aveo Forum And Owners Club Aveoforum Com

Transaxle Oil Cooler Supply And Return Lines Chevrolet Aveo Forum And Owners Club Aveoforum Com

Jeep 8 8 Engine Diagram Not Working Engineering Chevy Cruze

Jeep 8 8 Engine Diagram Not Working Engineering Chevy Cruze

1 6 Ecotec Thermostat Replacement Aveo G3 Swift Youtube

1 6 Ecotec Thermostat Replacement Aveo G3 Swift Youtube

Draining And Refilling A Fully Sealed Cooling System How A Car Works

Draining And Refilling A Fully Sealed Cooling System How A Car Works

Can T Locate Coolant Temperature Sensor On 2009 Aveo No

Can T Locate Coolant Temperature Sensor On 2009 Aveo No

Coolant Level Check 2004 2011 Aveo Ls 1 6l 4 Cyl

Coolant Level Check 2004 2011 Aveo Ls 1 6l 4 Cyl

Solved What Are The Components Of Thermostat Housing Fixya

Solved What Are The Components Of Thermostat Housing Fixya

Chevrolet Aveo 2004 2005 2006 Repair Manual Autoservicerepair

Chevrolet Aveo 2004 2005 2006 Repair Manual Autoservicerepair

Lower Radiator Hose Burst 2011 Chevy Aveo Lt Youtube

Lower Radiator Hose Burst 2011 Chevy Aveo Lt Youtube

Fuse Box Chevrolet Aveo

Fuse Box Chevrolet Aveo

General Motors 95214144 Hvac Heater Hose Heater Amazon Canada

General Motors 95214144 Hvac Heater Hose Heater Amazon Canada

1

1

Expansion Tank Pipe 1323a5 For Citroen C1 C2 C4 Ds4 For Peugeot 307 307cc 308 408 Radiator Degassing Water Pipe Hoses Clamps Aliexpress

Expansion Tank Pipe 1323a5 For Citroen C1 C2 C4 Ds4 For Peugeot 307 307cc 308 408 Radiator Degassing Water Pipe Hoses Clamps Aliexpress

Exhaust Components For 2006 Chevrolet Aveo Gm Parts Online

Exhaust Components For 2006 Chevrolet Aveo Gm Parts Online

Chevrolet Aveo 2002 2006 Fuse Box Location Chevrolet Aveo Fuse Box Chevrolet

Chevrolet Aveo 2002 2006 Fuse Box Location Chevrolet Aveo Fuse Box Chevrolet

Chevrolet Aveo Code Po107 Mycarspecs

Chevrolet Aveo Code Po107 Mycarspecs

Where Is Radiator Drain Plug In Chevy Aveo Youtube

Where Is Radiator Drain Plug In Chevy Aveo Youtube

Ram Chrysler Oem 14 16 Promaster 1500 Radiator Reservoir Hose Clamp 68217783aa Walmart Com

Ram Chrysler Oem 14 16 Promaster 1500 Radiator Reservoir Hose Clamp 68217783aa Walmart Com

Gm Oem Cooling Fan Resistor 94812213 Ebay

Gm Oem Cooling Fan Resistor 94812213 Ebay

2004 2011 Chevrolet Aveo Hose Check Ls 1 6l 4 Cyl

2004 2011 Chevrolet Aveo Hose Check Ls 1 6l 4 Cyl

Chevrolet Aveo Repair Workshop Manual

Chevrolet Aveo Repair Workshop Manual

Anyone Can Share How Acurazine Acura Enthusiast Community

Anyone Can Share How Acurazine Acura Enthusiast Community

Ram Chrysler Oem 14 16 2500 Engine Cooling Radiator Fan Clutch 68194962aa Walmart Com

Ram Chrysler Oem 14 16 2500 Engine Cooling Radiator Fan Clutch 68194962aa Walmart Com

Ever Had To Change The Heater Hose Chevrolet Aveo Forum And Owners Club Aveoforum Com

Ever Had To Change The Heater Hose Chevrolet Aveo Forum And Owners Club Aveoforum Com

Thermostat Replacement 2009 Chevy Aveo P0128 P2128 Youtube

Thermostat Replacement 2009 Chevy Aveo P0128 P2128 Youtube

2006 Chevrolet Aveo Yellow 2006 Chevrolet Aveo

2006 Chevrolet Aveo Yellow 2006 Chevrolet Aveo

Engine Coolant Thermostat Housing For 09 11 Chevy Aveo Aveo5 25189437 96984102 Auto Parts Accessories Car Truck Thermostats Parts

Engine Coolant Thermostat Housing For 09 11 Chevy Aveo Aveo5 25189437 96984102 Auto Parts Accessories Car Truck Thermostats Parts

Thermostat Replacement Chevy Aveo Youtube

Thermostat Replacement Chevy Aveo Youtube

I Need To Replace The Heater Hose For A 2006 Lt Manual Chevy Aveo It Is The One On The Passenger Side Very Hard To

I Need To Replace The Heater Hose For A 2006 Lt Manual Chevy Aveo It Is The One On The Passenger Side Very Hard To

Land Rover Parts Coolant Hoses 2 7 V6 Diesel

Land Rover Parts Coolant Hoses 2 7 V6 Diesel

2011 Chevy Aveo Lt Expansion Tank Cap Causing Coolant Overflow Overheating Youtube

2011 Chevy Aveo Lt Expansion Tank Cap Causing Coolant Overflow Overheating Youtube

Wiper Washer Components For 2006 Chevrolet Aveo Gm Parts Online

Wiper Washer Components For 2006 Chevrolet Aveo Gm Parts Online

Aveo 2006 Ecm Connector Vehicle Technology Systems Engineering Systems Engineering Technology Systems Connector

Aveo 2006 Ecm Connector Vehicle Technology Systems Engineering Systems Engineering Technology Systems Connector

2007 Chevy Aveo Check Engine Light My Daughters Aveo S Check

2007 Chevy Aveo Check Engine Light My Daughters Aveo S Check

Chevrolet Aveo 2002 2011 Fuse Box Diagram Auto Genius

Chevrolet Aveo 2002 2011 Fuse Box Diagram Auto Genius

Public Service Announcement Aveo Cooling System Electrical Issues Solved Chevrolet Aveo Forum And Owners Club Aveoforum Com

Public Service Announcement Aveo Cooling System Electrical Issues Solved Chevrolet Aveo Forum And Owners Club Aveoforum Com

1

1

Sedan How-to video for petcock radiator flush and burping on a 2006 Chevrolet Aveo LS 16L 4 Cyl.

Color manuals on repair and operation of the car Chevrolet Aveo 2002-2012 body sedan and hatchback. Sedan How-to video for petcock radiator flush and burping on a 2006 Chevrolet Aveo LS 16L 4 Cyl. Chevrolet Aveo owners have reported 36 problems related to engine cooling system under the engine and engine cooling category. CHEVROLET Car Manuals PDF. However according to its technical characteristics and safety requirements the Aveo boldly stepped into class C which bribes its future owners. Chevrolet Car Wiring Diagram - Corvette Bel Air Cavalier Impala Camaro Astro Malibu Venture Chevelle PickUp Suburban Tahoe Sonoma. Posted by Anonymous on Jan 12 2013. Listed below is the vehicle specific wiring diagram for your car alarm remote starter or keyless entry installation into your 2005-2006 Chevrolet AveoThis information outlines the wires location color and polarity to help you identify the proper connection spots in the vehicle. The petrol engine of 16 l.


Color manuals on repair and operation of the car Chevrolet Aveo 2002-2012 body sedan and hatchback. Soon after Durant was forced out of GMs he. Automotive wiring in a 2006 Chevrolet Aveo vehicles are becoming increasing more difficult to identify due to the installation of. Fuse box diagram location and assignment of electrical fuses and relays for Chevrolet Chevy Aveo 2007 2008 2009 2010 2011. Chevrolet Aveo 2002 2011 Head Unit Pinout Diagram Pinoutguide Com. The petrol engine of 16 l. 1923 chevrolet car wiring 1923 chevrolet general wiring 1923 chevrolet superior model 1923 chevrolet wiring 1925 chevrolet superior model series k 1927 chevrolet capitol and national 1927 chevrolet capitol and national models 1928 chevrolet general wiring 1928 chevrolet.

Post a Comment for "2006 Chevy Aveo Cooling System Diagram"